HOME
ABOUT US
TECHNOLOGICAL PROCESS
PRODUCT
REQUEST FOR QUOTE
CONTACT US
Hoiyi Products
Marine Hardware
Anchor
Anchor Chain Swivel
Bow Roller
Chocks
Cleat
Cleat Inox For Ropes
Cross
Cross Bollard
Deck Hinge
Deck Plate
Elbow
Hinge
Lift Ring
Over Hawse Pipe
Pad Eye
Rail End
Rod Holders
Round Base
Stanchion
Tee
Through Hull Outlets
Top Cap
Top Slides
Turning Lock Lift Handle
Rigging Hardware
Eye Bolt
Hook
Pulley
Quick Link
Ring
Shackle
Snap Hook
Snap Shackle
Swivel
Thimble
Turnbuckle
U-Bolt
Wire rope Clips
Wire rope Swage
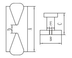
Product Name:
Horn Bollard
Material :
stainless steel 316
Product Description:
Art.No.
A(mm)
B(mm)
C(mm)
D(mm)
E(mm)
HY3001-6
152
60
62
45
M10
HY3002-8
203
70
77
57
M10
HY3003-10
255
80
91
103
M16
HY3004-12
310
90
109
130
M18
Hoiyi Marine & Industry Hardware Co.,Ltd Http://www.hoiyimarine.com
Tel:0086-0532-80929945 FAX:0086-0532-80687068
E_mail:sales@hoiyimarine.com
Address:C-32G,Jindu Plaza,Donghai Road,Qingdao City,China
Web technical support:
www.wangyazhou.cn